КАТАЛОГ ПРОДУКЦИИ
Распродажа
Уцененный товар
- Аксессуары
- Ванны
- Душевая программа
- Инсталляции
- Комплектующие
- Мебель
- Полотенцесушители
- Санфаянс
- Сифоны
- Смесители
- Термостаты
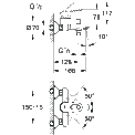
Главная страница / Смесители / Смеситель для ванны / 23341000 - GROHE BauLoop Смеситель для ванны с изливом
Остатки обновлены: сегодня в 23:30:12 | Обновление остатков каждые 10 минут
